集氣器、沉降器...
|
|
| 產品名稱:集氣器、沉降器 |
| 產品編號:— |
發布日期:
2015/10/27 |
| 產品產地:— |
產品規格:可根據用戶需求定制 |
| 產品商標:— |
 |
|
|
|
|
|

|
集氣器、沉降器
|
|
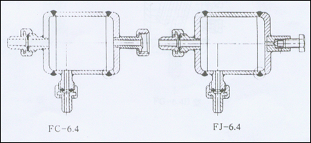
當被測介質為液體時,為了防止在引壓管中有氣體存在而影響測量,一般需在引壓管線的最高部位安裝集氣器,以定期排放引壓管線內的氣體,達到提高測量精度的目的。 當被測介質為氣體時,為了防止在引壓管中有液體存在而影響測量,一般需在引壓管線的最低部位安裝沉降器,以定期排放引壓管線內的液體,達到提高測量精度的目的。 型號及適用范圍:
| 型 號 |
適用范圍 |
| FJ-6.4 |
壓力≤6.4MPa |
| FJ-10 |
壓力≤10.0MPa |
| FC-6.4 |
壓力≤6.4MPa |
| FC-10 |
壓力≤10.0MPa |
結構形式:

| 發布人:001 |
|
|
|
|
|
|
|
|
|