 一、概述
固定式粉煤取樣裝置,主要用于正壓直吹式制粉系統一次風煤粉管上定期煤粉取樣。由于磨煤機碾磨件的磨損、煤種、塊度的變化,煤粉細度將產生較大的變化,并直接影響鍋爐燃燒的效率,因此定期對煤粉細度取樣檢測,當煤粉的細度超過設計值時,及時調整分離器折向門開度,或更換碾磨部件是十分必要的。
本設計采用壓縮空氣吹掃和用抽氣器抽吸取樣,這就避免了取樣口堵塞問題的出現,且易于取樣。取樣的速度通過控制壓縮空氣壓力、流量而得到控制。這樣可以得到較準確的煤粉細度值。
該裝置與國內同類型的產品不同的是,在壓縮空氣閥后加裝調壓閥。;因一般電廠提供的壓縮空氣的壓力在6~8Kg左右,單靠壓縮空氣閥來調節很難達到煤粉取樣裝置所需的工作壓力,往往因壓力大而取樣失真,沒有代表性。
二、結構形式
固定式煤粉取樣裝置主要由下列幾部分組成:
1、取樣管——插入煤粉管道中,取樣口朝向煤粉氣流來向,煤粉由此口進入取樣裝置。形式為多點取樣。
2、分離器——將煤粉和氣體分離,煤粉因重力作用被旋轉氣流甩到器壁,再靠重力作用,落入集粉器。分離后的氣體至上而下沿器壁下旋至底部,再沿中間路線上升至頂部,經排氣管下部的葉片作二次分離,從頂部出氣口排出,實現煤粉和氣體的分離。
3、取樣瓶——將分離器分離出的固定煤粉樣品集中存放,供標定之用。
4、取樣閥——煤粉取樣時,將此閥打開,靠壓縮空氣由出氣口排氣形成的負壓,抽吸分離器中的空氣,使煤粉管道中的煤粉從取樣口進入取樣裝置,進行取樣。
5、吹掃閥——當需要清掃取樣管中的殘留煤粉時,關閉取樣閥和調壓閥,開吹掃閥利用壓縮空氣吹掃取樣管道。
7、調壓閥——調整此閥門的開度,可控制壓縮空氣的壓力流量和改變取樣裝置的取樣速度。壓力不可調的太大,以防煤粉取樣失真。
8、壓力表——為調壓閥的操作提供直觀依據。
三、工作原理
固定式煤粉取樣裝置是利用負壓抽吸和旋風分離原理將煤粉從煤粉管道中吸出并進行固、氣分離而研制成功的。現結合煤粉取樣過程加以說明。
煤粉取樣過程中,所有閥門為開啟狀態,當壓縮空氣從出氣管噴出時,其射流作用必然導致與取樣閥連通的管道處出現負壓,管內氣體被帶出。分離器和其底部的集粉瓶是封閉連接,能與外部連通的唯一進口只有取樣頭和取樣管。所以負壓的出現促使煤粉管中的煤粉沿取樣頭進入取樣裝置,煤粉在分離器中被一次分離,并進入集粉瓶,而氣體及少許細粉從分離器的上部出口經出氣管內的葉片作二次分離后,被壓縮空氣帶出,并重新送入煤粉管道,對工作場所不產生污染。
增加吹掃閥的作用是:在煤粉取樣前和取樣后,關吹掃閥,開取樣閥又可以吹掃取樣管中的殘留在取樣管中的煤粉進行吹掃,以防取樣管被煤粉堵塞。并保證取樣準確。
四、操作程序
一、吹掃
取樣前要將取樣管吹掃干凈,防止煤粉堵塞取樣管。
1、開啟取樣控制閥11;關閉吹掃閥9;吹掃取樣管1~3分鐘,關閉所有閥門將取樣瓶中的煤粉清理干凈,將取樣瓶放回原處,注意取樣瓶口與分離器接口的密封。
二、取樣
取樣前所有閥門為關閉狀態,首先開啟壓縮空氣閥6;根據壓縮空氣調壓閥上的壓力表7顯示來調節調壓閥的壓力,將壓縮空氣壓力調節到所需壓力范圍0.05—0.1MPa。
在壓縮空氣壓力調節好的情況下,開啟所有球閥即開始取樣,取樣時間根據壓縮空氣的壓力大小來確定,一般1~2分鐘,取樣完成后關閉所有閥門,取下取樣瓶,將樣品取出;將取樣瓶方回原處,保證接口處的密封。
4、型號:MF-XXX
型號說明:MF:煤粉取樣裝置。XXX:煤粉管道直徑。
五、后附簡圖。
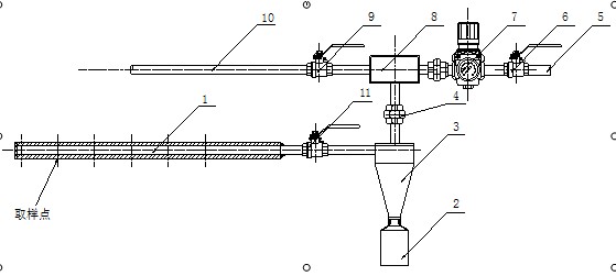
產品外形圖

1、取樣管2、取樣瓶3、分離器4、活接頭5、壓縮空氣接管6、壓縮空氣閥7、調壓閥8、射氣抽氣器9、吹掃閥10、射氣管11、取樣閥
安裝示意圖

1、取樣管2、取樣瓶3、分離器4、活接頭5、壓縮空氣接管6、壓縮空氣閥7、調壓閥8、射氣抽氣器9、吹掃閥10、射氣管11、取樣閥12、安裝固定法蘭 |